Cảm biến nhiệt độ LMT70
là cảm biến nhiệt độ tương tự CMOS công suất thấp, độ chính xác cao, siêu nhỏ với chân cắm cho phép đầu ra. Các ứng dụng cho LMT70 hầu như bao gồm bất kỳ loại cảm biến nhiệt độ nào yêu cầu hiệu quả về chi phí, độ chính xác cao và tiêu thụ điện năng thấp, chẳng hạn như nút cảm biến Internet of Things (IoT), nhiệt kế y tế, thiết bị đo chính xác cao và thiết bị chạy bằng pin. LMT70 cũng là một sự thay thế tuyệt vời cho RTD và nhiệt điện trở NTC / PTC chính xác.
Chân cho phép đầu ra của nó cho phép nhiều LMT70 chia sẻ một kênh ADC, do đó đơn giản hóa việc hiệu chuẩn ADC và giảm chi phí hệ thống tổng thể cho cảm biến nhiệt độ chính xác. LMT70 cũng có đầu ra tuyến tính và trở kháng thấp cho phép giao diện liền mạch với MCU / ADC có sẵn. Tản ra ít hơn 36µW, LMT70 có khả năng tự làm nóng cực thấp, hỗ trợ độ chính xác cao trong phạm vi nhiệt độ rộng.
LMT70A cung cấp hiệu suất khớp nhiệt độ vô song 0,1 ° C (tối đa) cho hai LMT70A liền kề được chọn từ cùng một băng và cuộn. Do đó, LMT70A là một giải pháp lý tưởng cho các ứng dụng đo năng lượng yêu cầu tính toán truyền nhiệt.
Đặc điểm
- Độ chính xác/Accuracy:
- ±0.05°C (typ) or ±0.13°C (max) from 20°C to 42°C
- ±0.2°C (max) from -20°C to 90°C
- ±0.23°C (max) from 90°C to 110°C
- ±0.36°C (max) from -55°C to 150°C
- Phạm vi đo nhiệt độ/ Wide Temperature Range: −55°C to 150°C
- Matching of Two Adjacent LMT70A on Tape and Reel: 0.1°C (max) at 30°C
- Cảm biến nhiệt độ tương tự rất tuyến tính với đầu ra chân cho phép
- Output On/Off Switch with RDS on < 80 Ω
- Nguồn cung cấp: 2.0 V – 5.5 V
- Dòng điện cung cấp: 9.2 µA -12 µA
- Gói WLCSP (DSBGA) siêu nhỏ 0,88 mm x 0,88 mm
Thông số kỹ thuật
- Độ chính xác của sensor: (Max) (+/- C): 0.1
- Phạm vi nhiệt độ đo: (C): -55 to 150
- Điệ thế nguồn cấp: 2V-5,5V
- Dòng điện cấp (Max): 12 uA
- Kiểu giao diện: Analog output
- Sensor gain (mV/Deg C):-5.19
Cách sử dụng
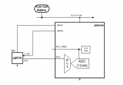
Vì đâu ra là analog, LMT 70 kết nối với microcontroller qua bộ chuyển đổi ADC (analog-digital converter). Cảm biến nhiệt độ đầu ra tương tự LMT70 là thiết bị lý tưởng để kết nối với bộ ADC 12-Bit tích hợp như được tìm thấy trong họ vi điều khiển MSP430.
Các ứng dụng cho LMT70 được bao gồm nhưng không giới hạn: các nút cảm biến nhiệt độ dựa trên IoT, thiết bị y tế (ví dụ: nhiệt kế, dây đeo thể dục / thông minh hoặc đồng hồ, máy theo dõi hoạt động, nhiệt độ cơ thể con người màn hình), thay thế RTD Class AA hoặc thấp hơn, thay thế nhiệt điện trở NTC hoặc PTC chính xác, thiết bị đo bù nhiệt độ, bù nhiệt độ đo sáng (e. g. phân bổ chi phí nhiệt, đồng hồ đo nhiệt).
Bạn có thể xem chi tiết hơn tại file:lmt70

Robot lau cửa kính Winbot 920
Máy bay phun thuốc DJI MG-1P
Cảm biến nhiệt độ kiểu K với screw M6, M8


Reviews
There are no reviews yet.